Страница 1 из 2
Хром зеркало. Нужен совет по установке!
Добавлено: 30 янв 2011, 19:38
bes-the-bes
Здравствуйте, уважаемые господа! На днях приобрел хром зеркала (не электро)

- Зеркало.JPG (10.94 КБ) 3595 просмотров
Хочу установить на пострестайлинговые двери (зеркала пластик в нижних треугольниках стекол).
Подскажите, пожалуйста, расстояния (широтные, высотные от краев двери) и до мест, в которых необходимо будет сделать отверстия под крепеж.
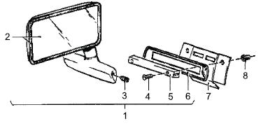
Также (вдруг у кого лежит в гараже) приобрету резиновую прокладку (6), внутреннюю пластину крепления зеркала (7), крепежные элементы (3, 4, 8 ) как левые, так и правые.
Также приобрету треугольные заглушки в углах передних боковых стекол (6) (версии с хром зеркалами)

- Заглушка.JPG (11.24 КБ) 3595 просмотров
Заранее спасибо!
Re: Хром зеркало. Нужен совет по установке!
Добавлено: 31 янв 2011, 07:21
nikx
Я так понимаю, что у тебя стоковые зеркала от Е21? В таком случае, отверстия у тебя в дверях уже есть. Сними внутреннюю общивку двери и увидешь крепление под зеркало. Завтра размеры и расположение отверстий скину
Re: Хром зеркало. Нужен совет по установке!
Добавлено: 31 янв 2011, 10:24
bes-the-bes
В данный момент установлены неродные зеркала, избавиться от которых одна из первоочередных задач для меня )
http://www.drive2.ru/cars/bmw/3_series/ ... es-the-besДвери у меня пострестайл, отверстий в дверях нет, зеркала установлены в нижних треугольниках рамок дверей.
Буду очень благодарен за размеры и расположение отверстий! Хочется сделать отверстия, максимально приближенные заводским параметрам )
Re: Хром зеркало. Нужен совет по установке!
Добавлено: 31 янв 2011, 21:39
niger
в гороже валяются две двери до ресталенговые есле надо могу позже фотку кинуть ну или размер померить.заглушки вроде тоже были но состояние не помню.
да а авто у тебя класс молодец что продовать не стал создай тему в рразделе о нас думаю многим будет интересно.
Re: Хром зеркало. Нужен совет по установке!
Добавлено: 01 фев 2011, 09:51
nikx
Вот форма и размеры отверстий под крепление зеркал на двери. У меня купешка, но думаю эти размеры подойдут ко всем кузовам
Re: Хром зеркало. Нужен совет по установке!
Добавлено: 01 фев 2011, 10:10
styxxx777
nikx писал(а):Вот форма и размеры отверстий под крепление зеркал на двери. У меня купешка, но думаю эти размеры подойдут ко всем кузовам
Про "все кузова" - сильно сказал!

Re: Хром зеркало. Нужен совет по установке!
Добавлено: 01 фев 2011, 11:21
bes-the-bes
Друзья, спасибо большое за помощь!
nikx, отдельное спасибо за столь подробный чертеж!
niger, если не затруднит, скинь фото для визуальной наглядности и посмотри, пожалуйста, заглушки - не хотельсь бы, чтобы ветер гулял по салону
Обязательно создам тему в разделе "О нас", только воплощу в реальность несколько задумок, устранив неоригинальные элементы, доставшиеся от прежнего хозяина

Re: Хром зеркало. Нужен совет по установке!
Добавлено: 01 фев 2011, 12:09
styxxx777
Смотрел твою машинку по ссылочке. Очень понравилась! Удачи в реализации намеченного!..
Re: Хром зеркало. Нужен совет по установке!
Добавлено: 01 фев 2011, 13:13
bes-the-bes
styxxx777, спасибо большое за поддержку!
Re: Хром зеркало. Нужен совет по установке!
Добавлено: 02 фев 2011, 23:26
Madman
там в двери в месте крепления зеркала еще усилитель есть.
Re: Хром зеркало. Нужен совет по установке!
Добавлено: 03 фев 2011, 16:57
niger
вот фотка.толко у иеня были электро зеркола но я думаю разници нет.

Re: Хром зеркало. Нужен совет по установке!
Добавлено: 04 фев 2011, 05:55
nikx
У меня дырки отличаються

Похоже конструкторы BMW в разные годы разные крепления для зеркал делали?! Вот где им действительно нечем заняться!
Re: Хром зеркало. Нужен совет по установке!
Добавлено: 04 фев 2011, 11:04
styxxx777
nikx писал(а):У меня дырки отличаються

Похоже конструкторы BMW в разные годы разные крепления для зеркал делали?! Вот где им действительно нечем заняться!
Вряд ли. Я вообще был уверен, что хром зеркало должно было только одно, с левой стороны. Даже вот фотки с инета у себя посмотрел - везде только слева... А тут на фото - правая дверь с дырками. Может какие неродные стояли?
Re: Хром зеркало. Нужен совет по установке!
Добавлено: 04 фев 2011, 11:21
Chewbacca
Я так понимаю, это от комплектации зависело. Были варианты и с одним, и с двумя зеркалами
Re: Хром зеркало. Нужен совет по установке!
Добавлено: 04 фев 2011, 13:09
bes-the-bes
Варианты с одним хром зеркалом:Вариант с двумя хром зеркалами:nikx, чем у тебя дырки отличаются? Я по твоему чертежу выкройку начал делать )